Ir a la información del producto
1 de 1

Wide Image Solutions

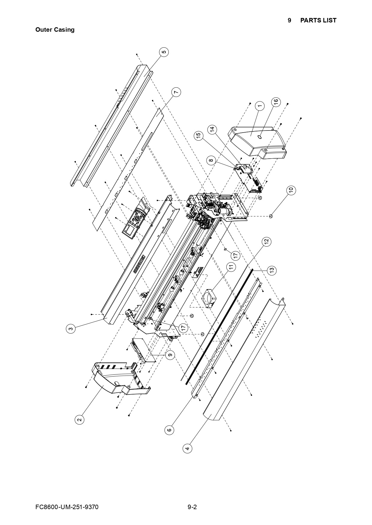
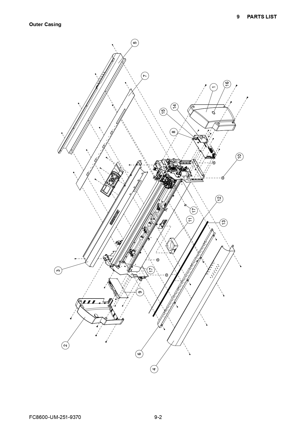
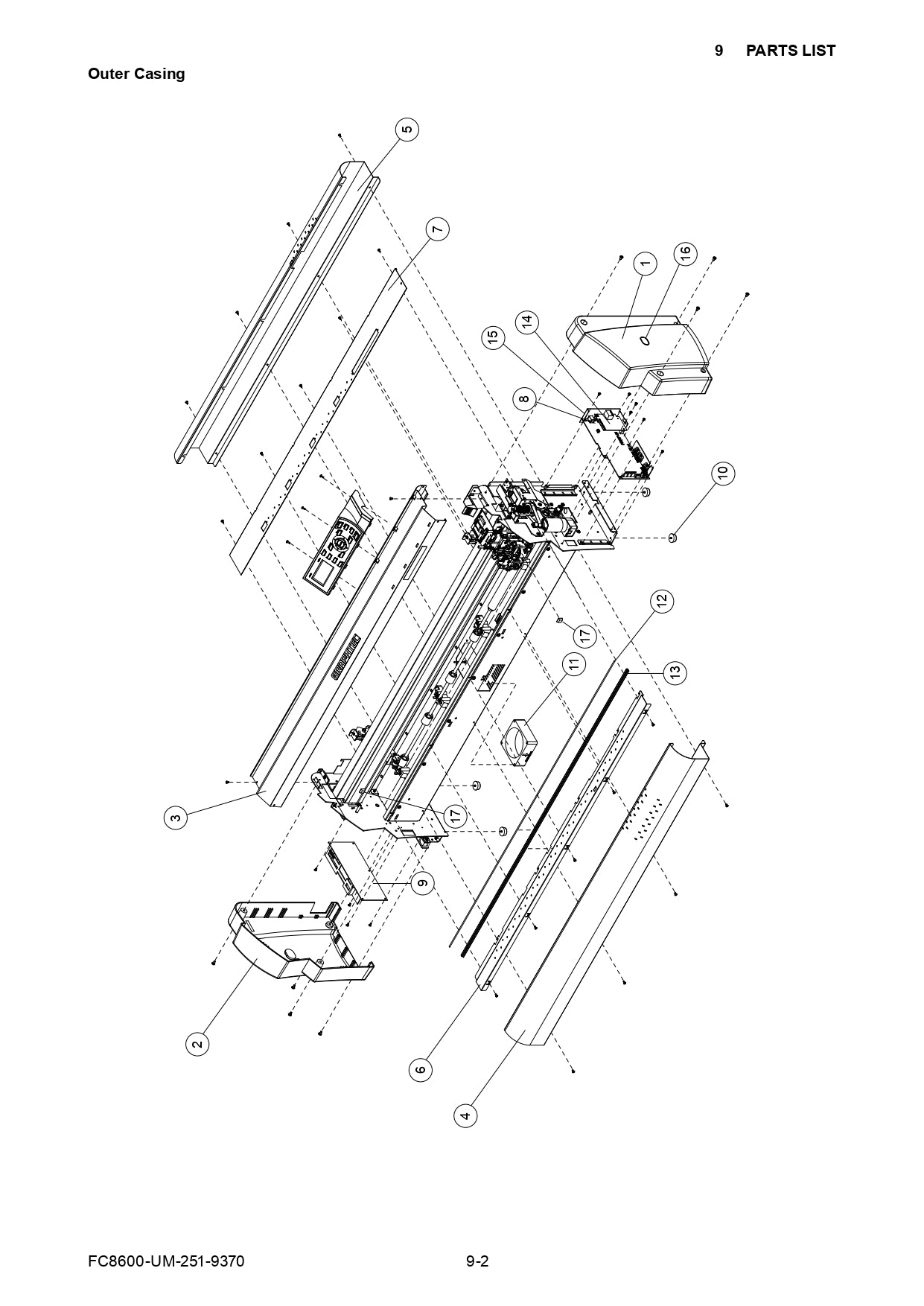
Panel de escritura trasero para Graphtec FC8600-100 (621271046)

Precio regular
$0.00
Precio regular
Precio de venta
$0.00
Los gastos de envío se calculan en la pantalla de pago.
    Panel de escritura trasero para Graphtec FC8600-100 (621271046)

    Tech Specs

    Panel de escritura trasero para Graphtec FC8600-100 (621271046)

    Número de pieza 7