Ir a la información del producto
1 de 1

Wide Image Solutions

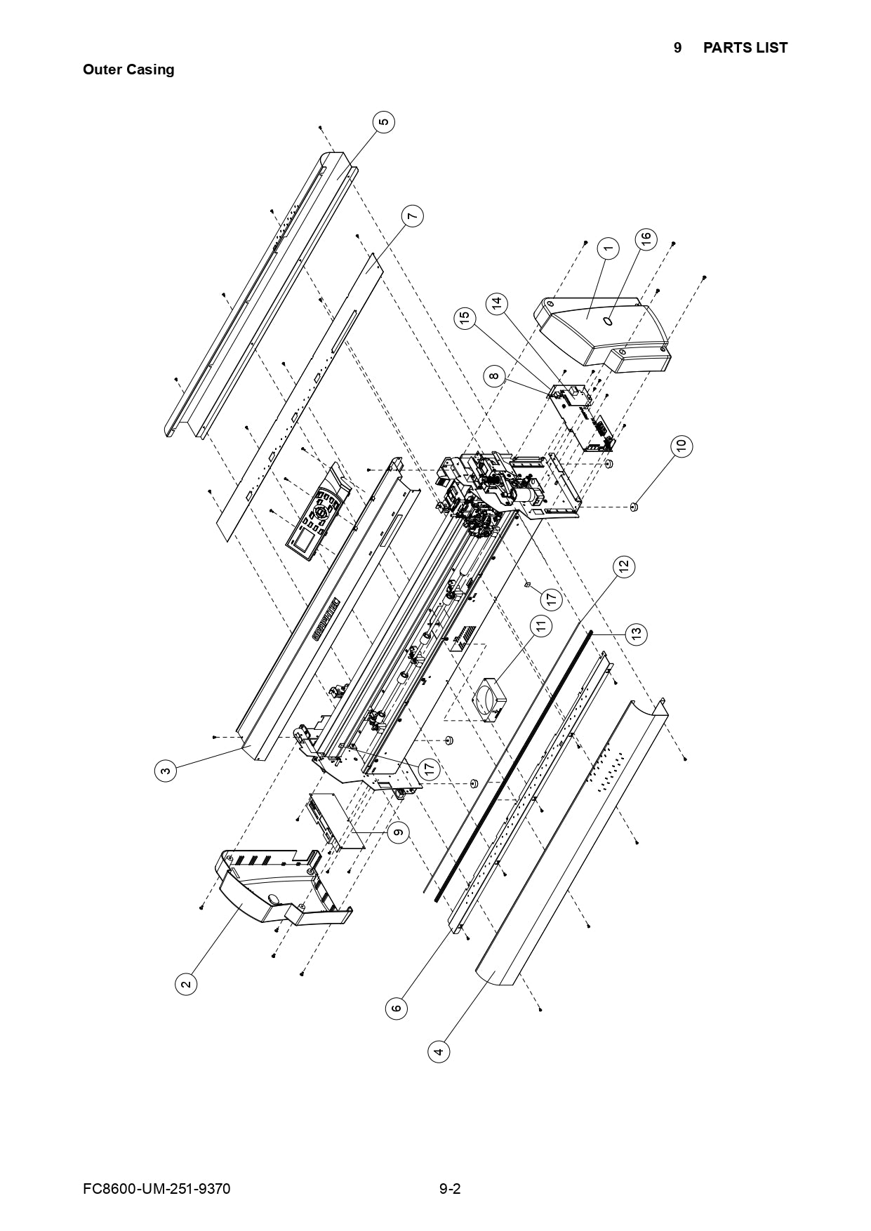
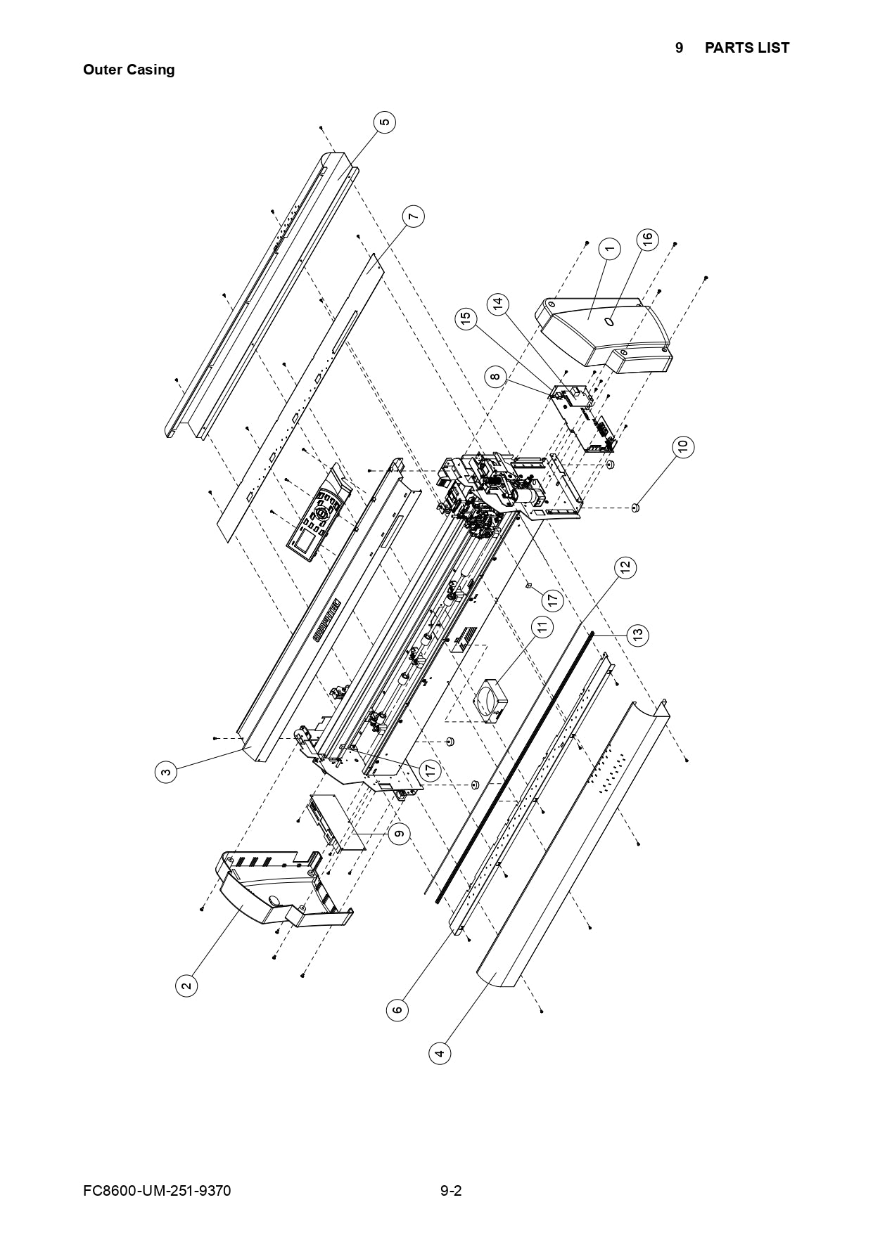
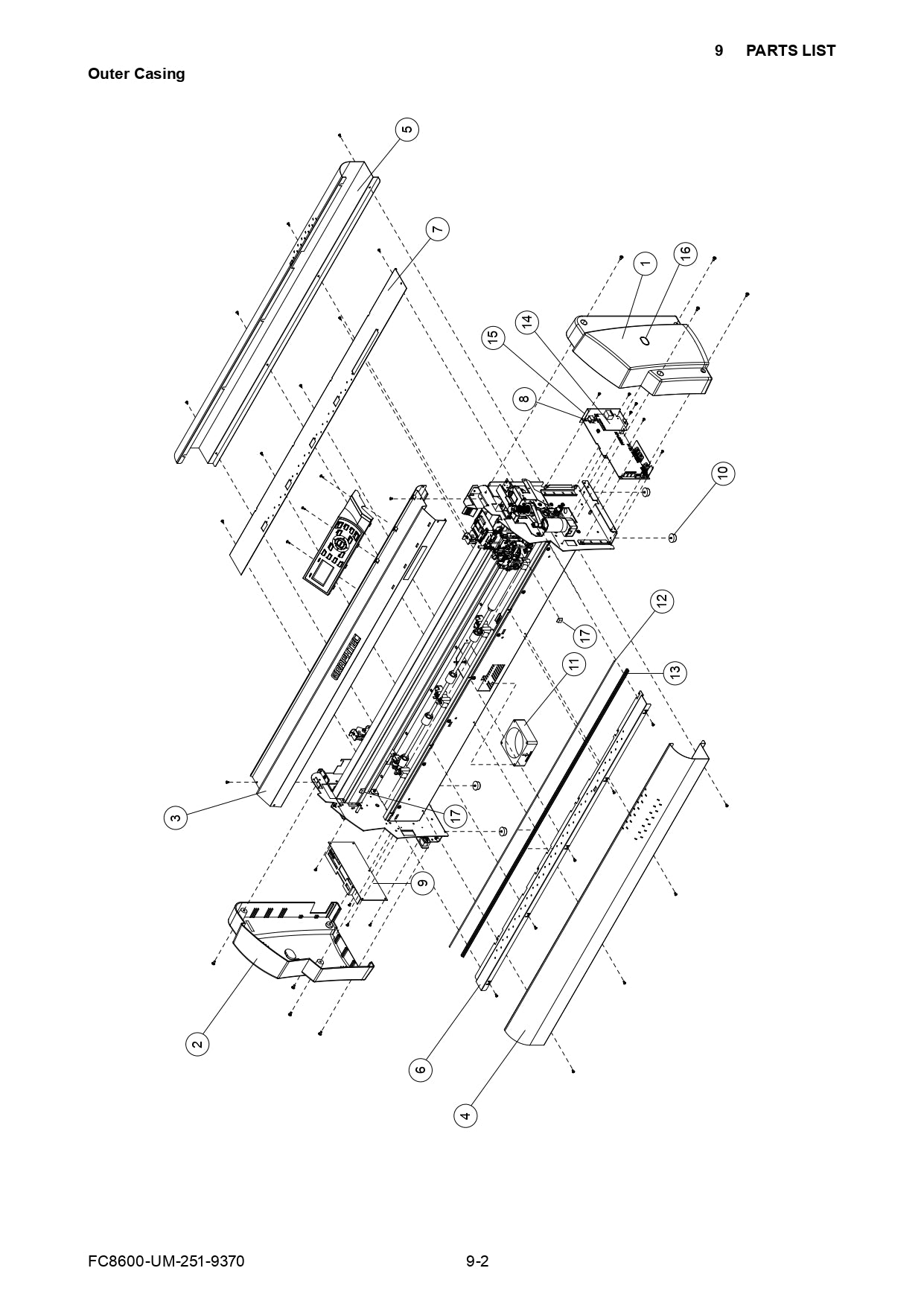
Alfombrilla de corte para Graphtec FC8600-130 (621281470)

Precio regular
$0.00
Precio regular
Precio de venta
$0.00
Los gastos de envío se calculan en la pantalla de pago.
    Alfombrilla de corte para Graphtec FC8600-130 (621281470)

    Tech Specs

    Alfombrilla de corte para Graphtec FC8600-130 (621281470)

    Número de pieza 12